鹏鲲自动化

自动涂装设备量身研制.一站式交钥匙服务为您提供产值高·低成本·稳久实用的喷涂整体解决方案

喷漆机器换人咨询:1371254838818025257959400-088-0769

鹏鲲-塑胶、五金喷涂表面测试SONY判定标准

两枪四轴联动环形自动喷涂机

2枪4轴环行线

2枪4轴环行线

2枪4轴环行线

2枪4轴环行线

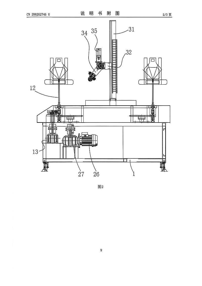
2枪4轴环行线

2枪4轴环行线

2枪4轴环行线

2枪4轴环行线

2枪4轴环行线

2枪4轴环行线

2枪4轴环行线

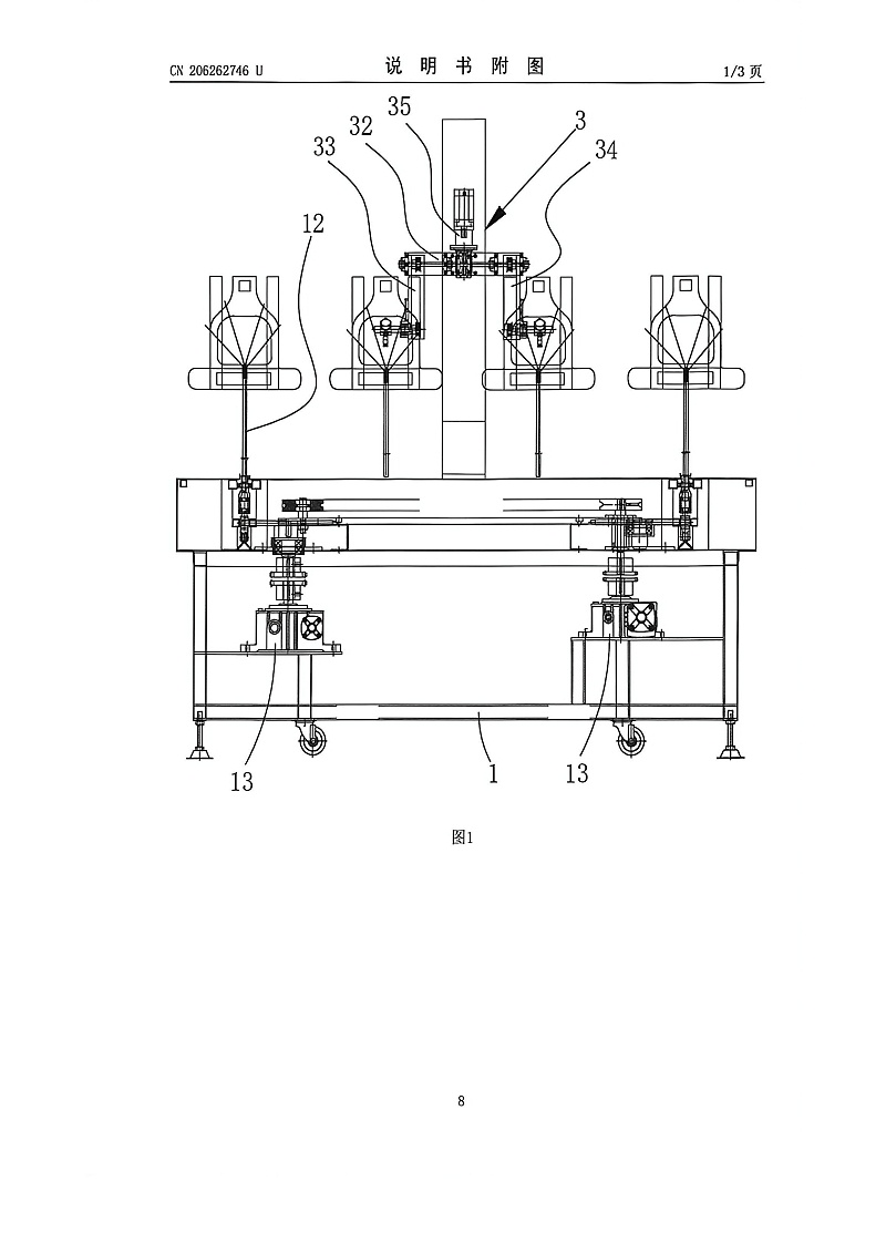
0