产品案例关于

荣誉证书

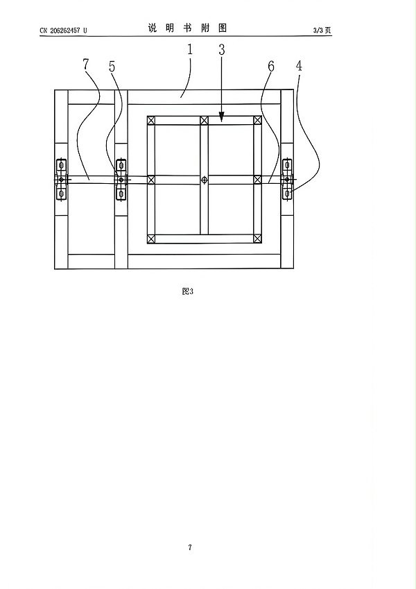
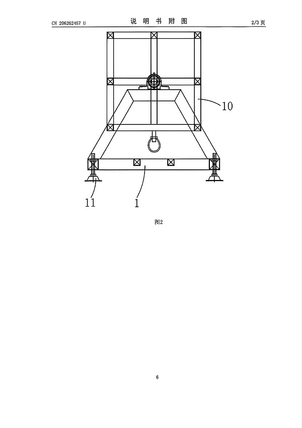
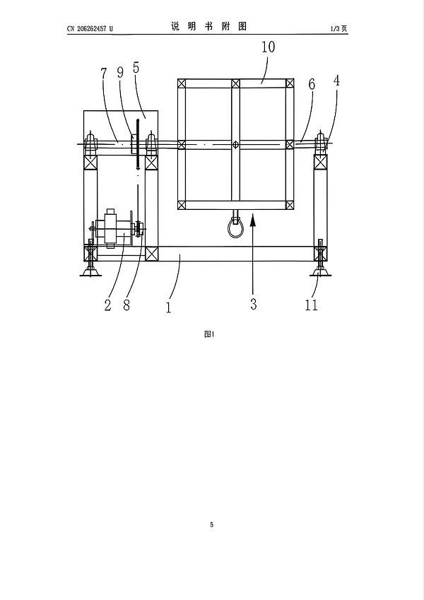
气动摇摆机

气动摇摆机

气动摇摆机

气动摇摆机

气动摇摆机

气动摇摆机

气动摇摆机

气动摇摆机

气动摇摆机