产品案例关于

荣誉证书

4分割自动喷漆机

4分割自动喷漆机

4分割自动喷漆机

4分割自动喷漆机

4分割自动喷漆机

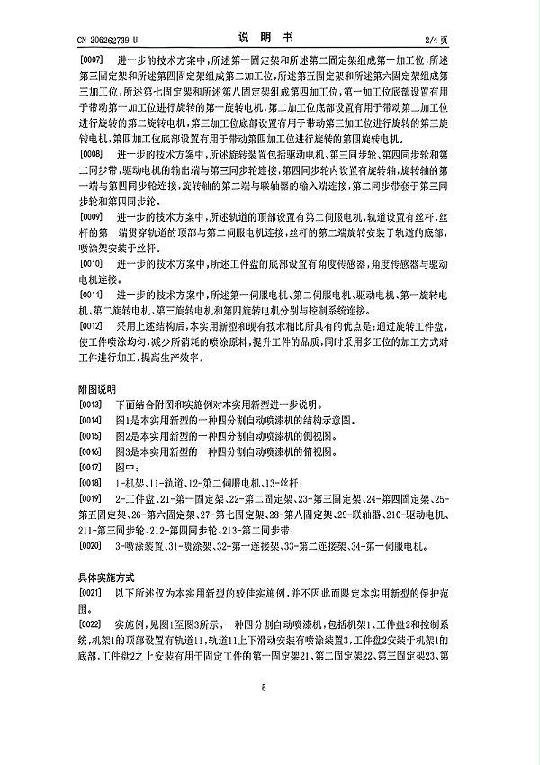
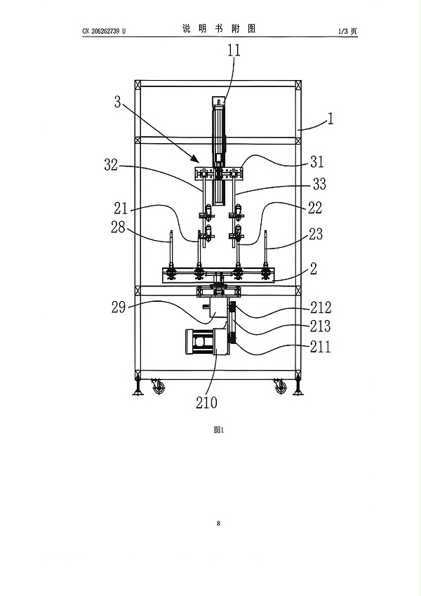
4分割自动喷漆机

4分割自动喷漆机

4分割自动喷漆机

4分割自动喷漆机

4分割自动喷漆机

4分割自动喷漆机