产品案例关于

荣誉证书

两枪四轴联动环形自动喷涂机

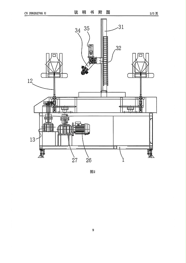
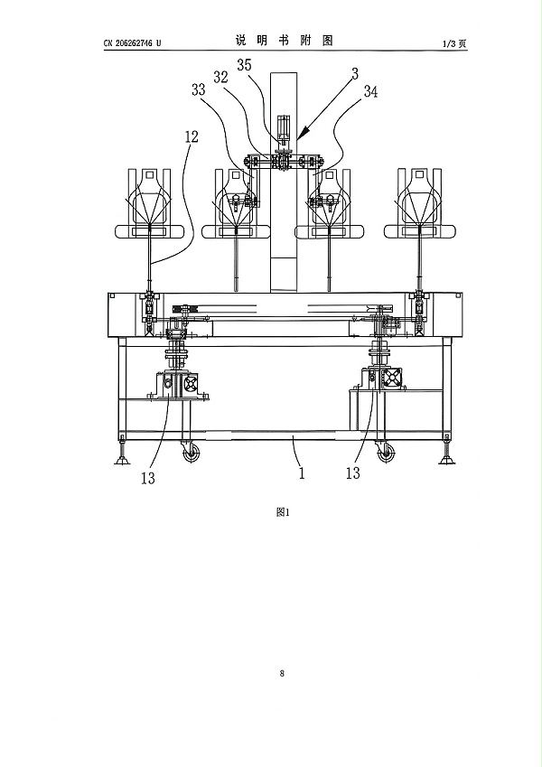
2枪4轴环行线

2枪4轴环行线

2枪4轴环行线

2枪4轴环行线

2枪4轴环行线

2枪4轴环行线

2枪4轴环行线

2枪4轴环行线

2枪4轴环行线

2枪4轴环行线

2枪4轴环行线